97446C

Bubbler Kit Vandal-Resistant

Application Hospitality
Type Bubbler Kits
Power No Electrical Required
Material Chrome-plated Brass
Finish Chrome
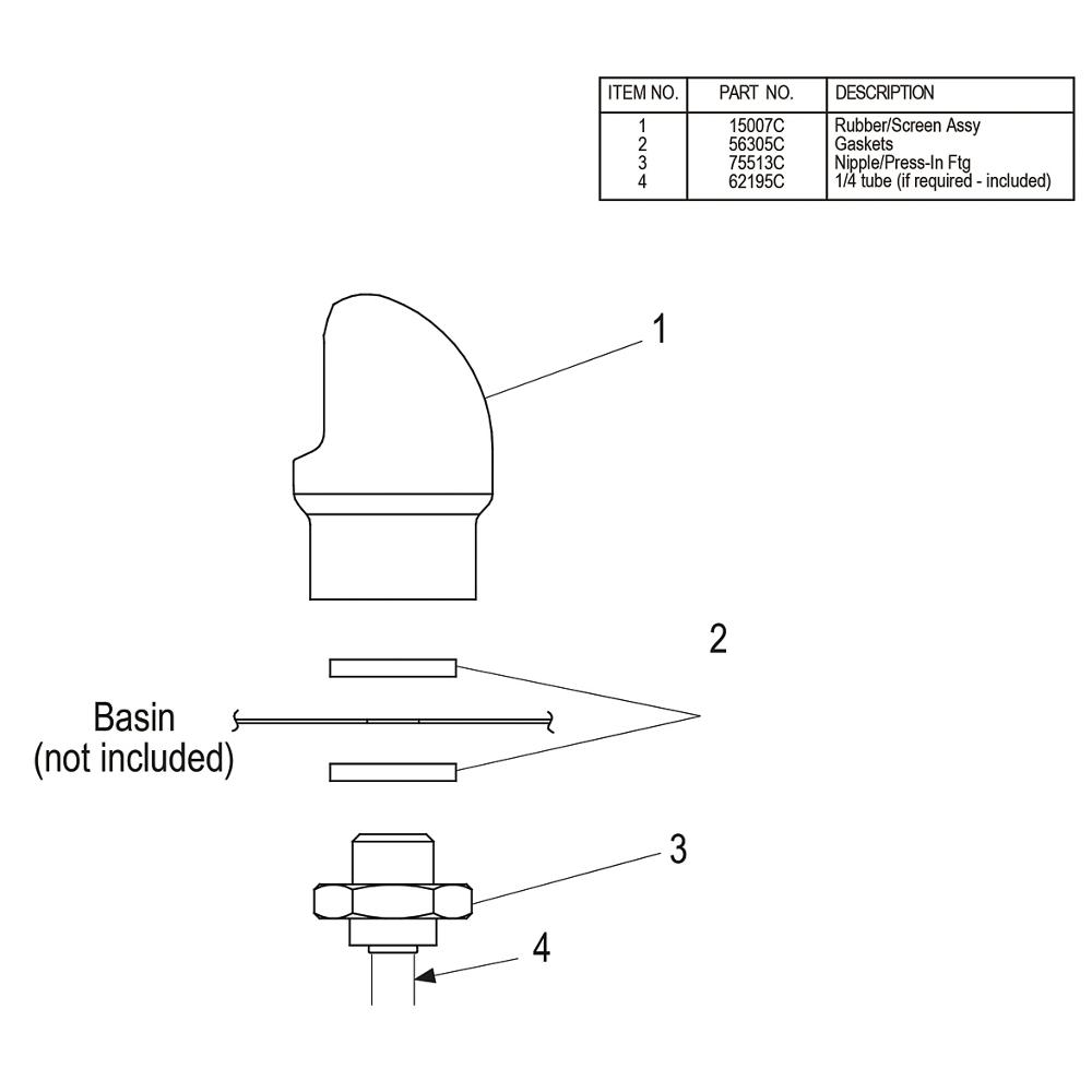
Included with Product Bubbler
Nipple
Gasket & Tubing
Country Of Origin TWN
Dimensions L: 1-1/2"
W: 1-1/2"
H: 2-1/2"
Shipping Dimensions L: 5"
W: 3"
H: 4"
Shipping Weight 5 LBS

We are always looking for ways to make great products even better. Superior quality and popular features allow our customers to find their perfect drinking solutions. Our products are ideal for medical facilities, schools and universities, office buildings, airports, shopping malls, sports arenas and other high-traffic venues, for both indoor and outdoor installations.

  • Vandal resistant
  • One-piece construction bubbler for use with our water coolers, bottle filling stations and drinking fountains
  • Chrome plated
  • Able to be keyed into position to prevent rotation
  • Complements style of the cooler